
Kv Value Chart Of Vexve Floating Ball Valves
PDF
Série 107/SL, welding / welding, EN (DIN), reduced bore, DN 25-300, PN 25

| Tělo | DN 25-300: Steel, P235GH (1.0345) |
| Koule | DN 25-300: Stainless steel, X5CrNi18-10 (1.4301) |
| Těsnění koule | DN 25-300: PTFE+C |
| Vřeteno | DN 25-100: Stainless steel, X8CrNiS18-9 (1.4305) DN 125-150: Stainless steel, X17CrNi16-2 (1.4057) DN 200-300: Stainless steel, X8CrNiS18-9 (1.4305) |
| Těsnění vřetena | DN 25-300: FPM |
| Hlava vřetena | DN 25-300: Stainless steel, X5CrNi18-10 (1.4301) |
| welding / welding, EN (DIN) |
| DN 25-150 | available with a T-key |
| DN 200-300 | available with portable planet gear |
We recommend angle gear operation for sizes DN 200 and larger.
| Teplota | -20 °C - +200 °C |
| Třída těsnosti | A (EN 12266-1) |
Below -20 °C contact manufacturer. Lowest allowed ambient temperature -40 °C.



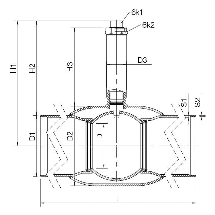
| DN | PN | Produktové číslo | D | D1 | D2 | D3 | D4 | H1 | H2 | H3 | L | S1 | S2 | 6K1 | 6K2 | Kg |
|---|---|---|---|---|---|---|---|---|---|---|---|---|---|---|---|---|
| 25 | 25 | 107025/SL | 20.0 | 33.7 | 48.3 | 33.7 | 36 | 382.0 | 365 | 343 | 1500 | 4.0 | 2.6 | 19 | 6.0 | |
| 32 | 25 | 107032/SL | 25.0 | 42.4 | 60.3 | 33.7 | 36 | 386.0 | 364 | 340 | 1500 | 3.6 | 2.6 | 19 | 8.0 | |
| 40 | 25 | 107040/SL | 32.0 | 48.3 | 70.0 | 33.7 | 36 | 400.0 | 376 | 349 | 1500 | 4.5 | 2.6 | 19 | 9.0 | |
| 50 | 25 | 107050/SL | 40.0 | 60.3 | 76.1 | 33.7 | 36 | 406.0 | 376 | 347 | 1500 | 4.0 | 2.9 | 19 | 11.0 | |
| 65 | 25 | 107065/SL | 50.0 | 76.1 | 101.6 | 42.4 | 36 | 415.0 | 376 | 348 | 1500 | 5.0 | 2.9 | 19 | 16.0 | |
| 80 | 25 | 107080/SL | 65.0 | 88.9 | 121.0 | 42.4 | 36 | 425.0 | 380 | 349 | 1500 | 5.6 | 3.2 | 19 | 20.0 | |
| 100 | 25 | 107100/SL | 80.0 | 114.3 | 146.0 | 60.3 | 60 | 449.0 | 392 | 355 | 1500 | 6.3 | 3.6 | 27 | 32.0 | |
| 125 | 25 | 107125/SL | 100.0 | 139.7 | 177.8 | 60.3 | 60 | 454.0 | 384 | 344 | 1500 | 6.3 | 4.0 | 27 | 45.0 | |
| 150 | 25 | 107150/SL | 125.0 | 168.3 | 219.1 | 60.3 | 60 | 476.0 | 391 | 344 | 1500 | 7.1 | 4.5 | 27 | 55.0 | |
| 200 | 25 | 107200/SL | 150.0 | 219.1 | 273.0 | 76.1 | 517.0 | 407 | 349 | 1500 | 7.1 | 4.5 | 50 | 90 | 83.5 | |
| 250 | 25 | 107250/SL | 200.0 | 273.0 | 355.6 | 88.9 | 560.0 | 423 | 350 | 1500 | 8.8 | 5.0 | 50 | 90 | 130.0 | |
| 300 | 25 | 107300/SE | 250.0 | 323.9 | 457.0 | 101.6 | 610.0 | 448 | 350 | 1800 | 8.8 | 5.6 | 50 | 90 | 192.0 |
Other stem heights also available
| Produktové číslo | Staré číslo Naval |
|---|---|
| 107025/SL | 254866 |
| 107032/SL | 254867 |
| 107040/SL | 254868 |
| 107050/SL | 254869 |
| 107065/SL | 254870 |
| 107080/SL | 254871 |
| 107100/SL | 254872 |
| 107125/SL | 254873 |
| 107150/SL | 254874 |
| 107200/SL | 284816 |
| 107250/SL | 284817 |
| 107300/SE | 284818 |



