Venttiilihaku
Maanalainen palloventtiili, ilmausventtiili / pitkä
231/IP-sarja, sisäkierre / hitsattava EN (DIN), supistettuaukkoinen, DN 20-50, PN 25

DN 20-50
Materiaalit
| Runko | DN 20-50: Haponkestävä teräs, X2CrNiMo17-12-2 (1.4404) |
| Jatkeputki | DN 20-50: Teräs, P235GH (1.0345) |
| Pallo | DN 20-50: Haponkestävä teräs, X2CrNiMo17-12-2 (1.4404) |
| Pallon tiiviste | DN 20-50: PTFE+C |
| Kara | DN 20-50: Haponkestävä teräs, X2CrNiMo17-12-2 (1.4404) |
| Karan tiiviste | DN 20-50: FPM/NBR |
| Tulppa | DN 20-50: DZR messinki |
Liitospäät
| sisäkierre / hitsattava EN (DIN) |
Lisävarusteet
DN 20-50: Tulppa |
Operointi
| DN 20-50 | komposiitti 6k19 asennonosoitin nuoli (vakioväri sininen, punainen saatavilla) |
Toimintaolosuhteet
| Lämpötila | -20 °C - +200 °C |
| Tiiveysluokka | A (EN 12266-1) |
Alle -20 °C ota yhteyttä valmistajaan. Alin sallittu ympäristön lämpötila -40 °C.

DN 20-50
vesialue
Höyryalue (ei sallittu)
lyhytaikainen toiminta-alue
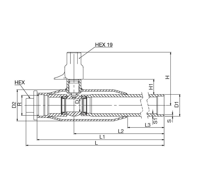
Mitat
DN 20-50

DN 20-50
| DN | PN | Tuotenro. | D | D1 | D2 | H | H1 | L | L1 | L2 | L3 | S | S1 | HEX | HEX19 | R | Kg |
|---|---|---|---|---|---|---|---|---|---|---|---|---|---|---|---|---|---|
| 20 | 25 | 231020X/IP | 15.0 | 26.9 | 42.4 | 80 | 25.0 | 500 | 484.0 | 434 | 351 | 2.6 | 4.0 | 19 | 19 | 3/4" | 1.5 |
| 25 | 25 | 231025X/IP | 20.0 | 33.7 | 48.3 | 82 | 23.0 | 500 | 482.0 | 425 | 342 | 2.6 | 4.0 | 19 | 19 | 1" | 2.0 |
| 32 | 25 | 231032X/IP | 25.0 | 42.4 | 60.3 | 86 | 23.0 | 500 | 479.0 | 414 | 305 | 2.6 | 4.5 | 19 | 19 | 1 1/4" | 3.0 |
| 40 | 25 | 231040X/IP | 32.0 | 48.3 | 70.0 | 91 | 24.0 | 500 | 479.0 | 403 | 299 | 2.6 | 4.5 | 27 | 19 | 1 1/2" | 3.4 |
| 50 | 25 | 231050X/IP | 40.0 | 60.3 | 76.1 | 98 | 25.0 | 500 | 476.0 | 386 | 278 | 2.9 | 4.0 | 27 | 19 | 2" | 4.3 |