
Venttiilihaku
Pohjalaakeroitu palloventtiili
104/TR-sarja, hitsattava / hitsattava, EN (DIN), supistettuaukkoinen, DN 150-1200, PN 25

DN 150-1200
Materiaalit
| Runko | DN 150-200: Teräs P235GH (1.0345) / P355NH (1.0565) DN 250-450: Teräs, P355QH (1.0571) / P355NL1 (1.0566) / P355NH (1.0565) DN 500-1200: Teräs, P355QH (1.0571) / P355NH (1.0565) |
| Pallo | DN 150-1200: Teräs + ruostumaton pinnoite, ASTM A350 LF2 +Ni |
| Pallon tiiviste | DN 150-1200: PTFE+C |
| Kara | DN 150-1200: Haponkestävä teräs, X17CrNi16-2 (1.4057) |
| Karan tiiviste | DN 150-1200: FPM |
Liitospäät
| hitsattava / hitsattava, EN (DIN) |
Lisävarusteet
DN 150 on varustettu: Tyhjennysventtiili DN 200-1200 on varustettu: Nostokorvat, jalusta Tyhjennysventtiili: DN 15 DN 150-200 venttiileille, DN 20 DN 250-450 venttiileille, DN 32 DN 500-1200 venttiileille |
Operointi
| DN 150-1200 | käsivaihde |
Toimintaolosuhteet
| Lämpötila | 0 °C - +200 °C |
| Tiiveysluokka | A (EN 12266-1) |
Alle 0 °C ota yhteyttä valmistajaan. Alin sallittu ympäristön lämpötila -20 °C.

DN 150-1200
vesialue
Höyryalue (ei sallittu)
lyhytaikainen toiminta-alue
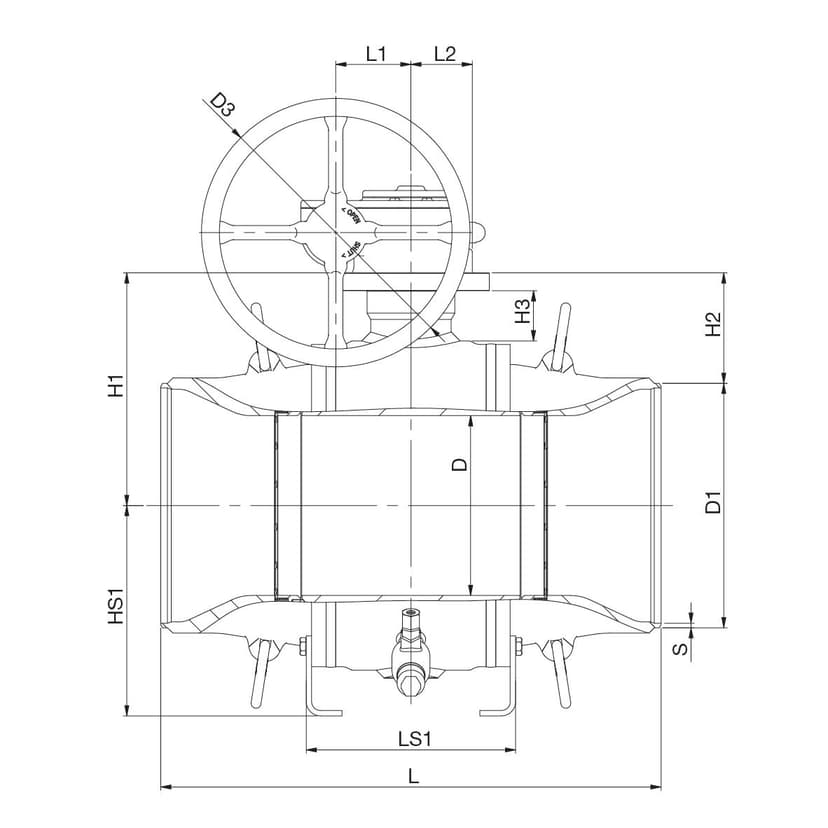
Mitat
DN 150-1200

DN 150-200

DN 150-900

DN 150-900
| DN | PN | Tuotenro. | D | D1 | D2 | D3 | D4 | H | H1 | H2 | H3 | H4 | H5 | HS1 | L | L1 | L2 | L3 | L4 | LS1 | LS2 | S | Kg |
|---|---|---|---|---|---|---|---|---|---|---|---|---|---|---|---|---|---|---|---|---|---|---|---|
| 150 | 25 | 104150/TR | 125.0 | 168.3 | 219.1 | 200 | 59.5 | 231 | 157.0 | 73 | 33 | 191 | 291 | 457 | 53.0 | 48 | 56 | 217 | 4.5 | 55 | |||
| 200 | 25 | 104200/TR | 150.0 | 219.1 | 273.0 | 250 | 74.5 | 286 | 195.0 | 85 | 43 | 238 | 363 | 189 | 521 | 69.0 | 60 | 68 | 268 | 210 | 180 | 5.0 | 97 |
| 250 | 25 | 104250/TR | 201.0 | 273.0 | 368.0 | 300 | 98.0 | 357 | 260.0 | 124 | 56 | 305 | 455 | 235 | 559 | 84.0 | 69 | 81 | 289 | 234 | 200 | 5.0 | 212 |
| 300 | 25 | 104300/TR | 250.0 | 323.9 | 440.0 | 500 | 110.0 | 420 | 302.0 | 140 | 62 | 351 | 601 | 280 | 635 | 118.0 | 108 | 125 | 363 | 250 | 240 | 5.6 | 324 |
| 350 | 25 | 104350/TR | 300.0 | 355.6 | 510.0 | 500 | 110.0 | 455 | 337.0 | 159 | 62 | 386 | 636 | 314 | 762 | 118.0 | 108 | 125 | 363 | 290 | 280 | 6.3 | 483 |
| 400 | 25 | 104400/TR | 340.0 | 406.4 | 590.0 | 500 | 135.0 | 528 | 400.0 | 197 | 80 | 455 | 705 | 360 | 838 | 138.0 | 133 | 141 | 440 | 348 | 320 | 7.1 | 748 |
| 450 | 25 | 104450/TR | 385.0 | 457.0 | 640.0 | 500 | 135.0 | 553 | 425.0 | 197 | 80 | 480 | 730 | 390 | 914 | 138.0 | 133 | 141 | 440 | 362 | 350 | 6.3 | 923 |
| 500 | 25 | 104500/TR | 436.0 | 508.0 | 740.0 | 600 | 180.0 | 625 | 490.0 | 236 | 86 | 554 | 854 | 530 | 991 | 180.0 | 166 | 188 | 487 | 456 | 400 | 6.3 | 1117 |
| 600 | 25 | 104600/TR | 487.0 | 610.0 | 822.0 | 600 | 200.0 | 672 | 537.0 | 232 | 88 | 601 | 901 | 580 | 1143 | 180.0 | 166 | 188 | 487 | 472 | 420 | 7.1 | 1542 |
| 700 | 25 | 104700/TR | 589.0 | 711.0 | 980.0 | 500 | 200.0 | 751 | 616.0 | 261 | 88 | 680 | 930 | 660 | 1346 | 180.0 | 166 | 188 | 540 | 524 | 450 | 8.0 | 2551 |
| 800 | 25 | 104800/TR | 684.0 | 813.0 | 1125.0 | 700 | 230.0 | 910 | 722.0 | 315 | 111 | 807 | 1157 | 700 | 1524 | 253.0 | 222 | 255 | 593 | 572 | 450 | 8.8 | 3718 |
| 900 | 25 | 104900/TR | 779.0 | 914.0 | 1290.0 | 700 | 270.0 | 1021 | 833.0 | 376 | 138 | 918 | 1268 | 840 | 1727 | 253.0 | 222 | 255 | 593 | 700 | 600 | 10.0 | 5590 |
| 1000 | 25 | 1041000/TR | 874.0 | 1016.0 | 1440.0 | 700 | 270.0 | 1096 | 908.0 | 400 | 138 | 993 | 1343 | 900 | 2000 | 253.0 | 222 | 255 | 593 | 770 | 600 | 11.0 | 7043 |
| 1200 | 25 | 1041200/TR | 976.0 | 1220.0 | 1600.0 | 700 | 290.0 | 1273 | 1010.0 | 400 | 156 | 1148 | 1498 | 970 | 2216 | 291.0 | 306 | 306 | 757 | 876 | 750 | 12.5 | 11291 |
Saatavana myös PN 40. Kysy lisätietoja asiakaspalvelultamme. Kokoluokat DN 500-1200 valmistaa ARMATURY Group a.s. - osa Vexveä.
Tuotenumeromuunnokset
| Tuotenro. | Vanha Naval-numero |
|---|---|
| 104150/TR | |
| 104200/TR | 284436/TR |
| 104250/TR | 284437/TR |
| 104300/TR | 284438/TR |
| 104350/TR | 284498/TR |
| 104400/TR | 284439/TR |
| 104450/TR | 284499/TR |
| 104500/TR | 284440/TR |
| 104600/TR | 284441/TR |
| 104700/TR | 284482/TR |
| 104800/TR | 284483/TR |
| 104900/TR | 284484/TR |
| 1041000/TR | |
| 1041200/TR |
Tuotteeseen liittyvät tekniset dokumentit
Käyttöohjeet


Kv-values for trunnion mounted ball valves
PDF
Trunnion mounted ball valves, operating torques
PDF
Sertifikaatit

EPD, trunnion mounted ball valves
PDF