
Venttiilihaku
Lauhdeventtiili
174-sarja, hitsattava / hitsattava, EN (DIN), supistettuaukkoinen, DN 125-150, PN 25

DN 125-150
Materiaalit
| Runko | DN 125-150: Teräs, P235GH (1.0345) |
| Pallo | DN 125-150: Ruostumaton teräs, X5CrNi18-10 (1.4301) |
| Pallon tiiviste | DN 125-150: PTFE+GF |
| Kara | DN 125-150: Haponkestävä teräs, X17CrNi16-2 (1.4057) |
| Karan tiiviste | DN 125-150: FFKM/EPDM |
Liitospäät
| hitsattava / hitsattava, EN (DIN) |
Operointi
| DN 125-150 | käsivaihde |
Toimintaolosuhteet
| Lämpötila | -20 °C - +250 °C |
| Tiiveysluokka | A (EN 12266-1) |
Alle -20 °C ota yhteys valmistajaan. Alin sallittu ympäristön lämpötila -40 °C. *) Ei tulistetulle höyrylle.

DN 125-150
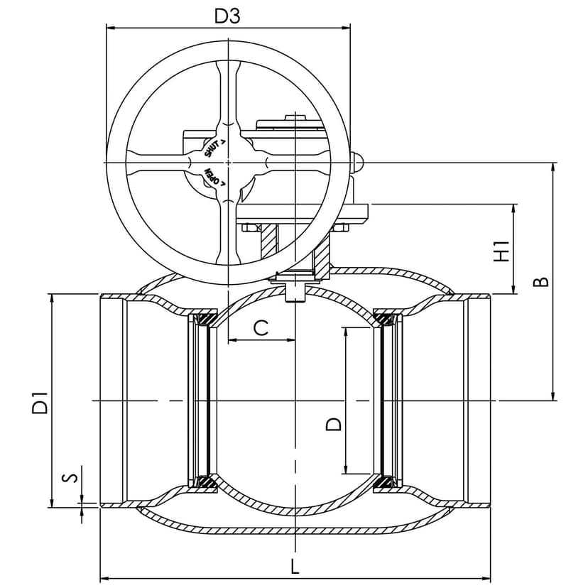
Mitat
DN 125-150

DN 125-150

DN 125-150
| DN | PN | Tuotenro. | LVI | A | B | C | D | D1 | D2 | D3 | E | H1 | L | S | Kg |
|---|---|---|---|---|---|---|---|---|---|---|---|---|---|---|---|
| 125 | 25 | 174125 | 3755650 | 224.0 | 217 | 53 | 100.0 | 139.7 | 177.8 | 200 | 259 | 113.0 | 325 | 4.0 | 20 |
| 150 | 25 | 174150 | 3755651 | 224.0 | 237 | 53 | 125.0 | 168.3 | 219.1 | 200 | 280 | 119.0 | 350 | 4.5 | 25 |
Tuotenumeromuunnokset
| Tuotenro. | Vanha Naval-numero | EAN | LVI | RSK |
|---|---|---|---|---|
| 174125 | 274473 | 6415837556509 | 3755650 | 4512213 |
| 174150 | 274474 | 6415837556516 | 3755651 | 4512214 |
Tuotteeseen liittyvät tekniset dokumentit
Käyttöohjeet


Lauhdeventtiilit, liitäntämitat
PDF
Ball valve kv values chart
PDF
Ball valve operating torques
PDF