
Valve Finder
Underground ball valve
Series 107, welding / welding, EN (DIN), reduced bore, DN 200-500, PN 25

DN 200-500
Materials
| Body | DN 200-500: Steel, P235GH (1.0345) |
| Ball | DN 200-500: Stainless steel, X5CrNi18-10 (1.4301) |
| Ball seal | DN 200-500: PTFE+C |
| Stem | DN 200-500: Stainless steel, X8CrNiS18-9 (1.4305) |
| Stem seal | DN 200-500: FPM |
| Top of Stem | DN 200-500: Stainless steel, X5CrNi18-10 (1.4301) |
Mounting
| welding / welding, EN (DIN) |
Operation
| DN 200-500 | available with manual gear or with an electric or hydraulic actuator |
Operating conditions
| Temperature | -20 °C - +200 °C |
| Leakage rate | A (EN 12266-1) |
Below -20 °C contact manufacturer. Lowest allowed ambient temperature -40 °C.

DN 200-500
water area
Steam area (not allowed)
short-term working area
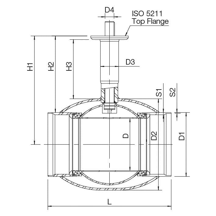
Dimensions
DN 200-500

DN 200-500
| DN | PN | Product no. | D | D1 | D2 | D3 | D4 | H1 | H2 | H3 | L | S1 | S2 | Kg |
|---|---|---|---|---|---|---|---|---|---|---|---|---|---|---|
| 200 | 25 | 107200/S/F12 | 150.0 | 219.1 | 273.0 | 76.1 | 35 | 490.0 | 380 | 334 | 400 | 7.1 | 4.5 | 52 |
| 250 | 25 | 107250/S/F14 | 200.0 | 273.0 | 355.6 | 88.9 | 40 | 525.0 | 389 | 327 | 530 | 8.8 | 5.0 | 86 |
| 300 | 25 | 107300/S/F16 | 250.0 | 323.9 | 457.0 | 101.6 | 50 | 580.0 | 418 | 331 | 550 | 8.8 | 5.6 | 121 |
| 350 | 25 | 107350 | 290.0 | 355.6 | 508.0 | 114.3 | 50 | 603.0 | 425 | 329 | 686 | 12.5 | 6.3 | 190 |
| 400 | 25 | 107400 | 340.0 | 406.4 | 610.0 | 168.3 | 70 | 680.0 | 477 | 350 | 762 | 12.5 | 7.0 | 280 |
| 450 | 25 | 107450 | 390.0 | 457.0 | 660.0 | 178.0 | 90 | 720.0 | 491 | 350 | 914 | 6.3 | 530 | |
| 500 | 25 | 107500 | 390.0 | 508.0 | 660.0 | 178.0 | 90 | 720.0 | 466 | 350 | 914 | 14.2 | 7.0 | 470 |
Product number conversions
| Product no. | Old Naval No |
|---|---|
| 107200/S/F12 | 28463605 |
| 107250/S/F14 | 28463705 |
| 107300/S/F16 | 28463805 |
| 107350 | 28466805 |
| 107400 | 28466905 |
| 107450 | |
| 107500 | 28467005 |
Technical documentation for the product
Certificates


EPD HUB 2146 VexveSteelBallValves 2024 12 17
PDF
Operation manuals



