Valve Finder
Underground ball valve, air release valve / short
Series 231/I, female threads / welding EN (DIN), reduced bore, DN 25-50, PN 25

DN 25-50
Materials
| Body | DN 25-50: Stainless steel, X2CrNiMo17-12-2 (1.4404) |
| Extension pipe | DN 25-50: Steel, P235GH (1.0345) |
| Ball | DN 25-50: Stainless steel, X2CrNiMo17-12-2 (1.4404) |
| Ball seal | DN 25-50: PTFE+C |
| Stem | DN 25-50: Stainless steel, X2CrNiMo17-12-2 (1.4404) |
| Stem seal | DN 25-50: FPM/NBR |
| Plug | DN 25-50: DZR brass |
Mounting
| female threads / welding EN (DIN) |
Equipments
DN 25-50 are equipped with: plug |
Operation
| DN 25-50 | composite 6k19 positioning arrow (standard color blue, red available) |
Operating conditions
| Temperature | -20 °C - +200 °C |
| Leakage rate | A (EN 12266-1) |
Below -20 °C contact manufacturer. Lowest allowed ambient temperature -40 °C.

DN 25-50
water area
Steam area (not allowed)
short-term working area
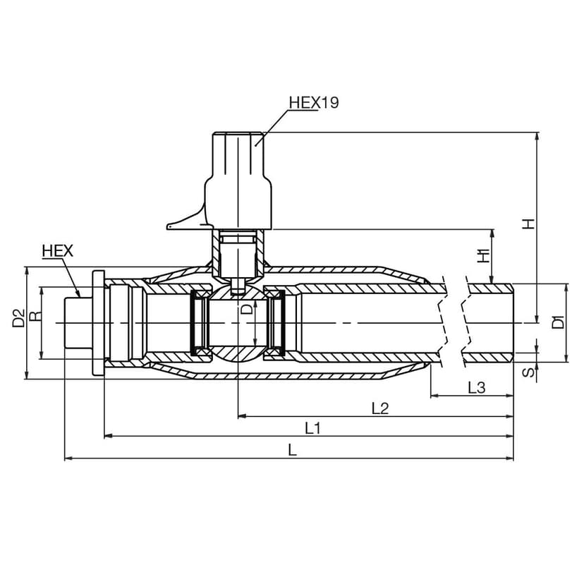
Dimensions
DN 25-50

DN 25-50
| DN | PN | Product no. | D | D1 | D2 | H | H1 | L | L1 | L2 | L3 | S | HEX | HEX19 | Kg |
|---|---|---|---|---|---|---|---|---|---|---|---|---|---|---|---|
| 25 | 25 | 231025X/I | 20.0 | 33.7 | 48.3 | 82 | 23.0 | 412 | 395.0 | 338 | 255 | 4.0 | 19 | 19 | 1.8 |
| 40 | 25 | 231040X/I | 32.0 | 48.3 | 70.0 | 90 | 24.0 | 416 | 395.0 | 319 | 215 | 4.5 | 27 | 19 | 3.0 |
| 50 | 25 | 231050X/I | 40.0 | 60.3 | 76.1 | 98 | 25.0 | 416 | 392.0 | 303 | 194 | 4.0 | 27 | 19 | 3.8 |